找回密码
 立即注册
搜索

0

0

收藏

分享

苹果新专利曝光,折叠屏终于可以无折痕了,发布时间也基本确定!

小8说科技 · 4 小时前
说实话,在这个圈子里混了十几年,“折叠屏iPhone”这个话题都快被聊成数码界的“都市传说”了。
每年都有分析师信誓旦旦地说“明年一定发”,结果每年九月我们等来的依旧是那块熟悉的直板砖头。
这简直就是科技界的“狼来了”,搞得我们这些老博主都快对相关爆料免疫了。
1.png

但这一次,情况似乎有点不一样,狼可能真的在磨牙了。
综合最近供应链传出的消息,以及苹果在2024年7月刚刚拿下的核心专利,都在指向一个明确的时间节点:这场迟到的折叠盛宴,大概率会在2026年底到2027年正式开席。
很多人会问,安卓折叠屏都迭代到第六代、第七代了,苹果到底在磨蹭什么?
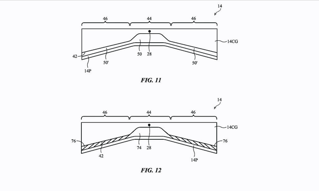
其实看看那个刚刚曝光的“跌落保护铰链”专利,你就明白了。
苹果想解决的是折叠屏目前最大的死穴——“脆”。
这项专利描述了一种极其精妙的机制:当传感器检测到手机跌落时,屏幕会自动围绕弯曲轴轻微折叠。
2.png
图片来源:美国专利商标局
这就像是猫落地时的应激反应一样,通过改变着力点来保护脆弱的内屏。
这就是典型的“苹果式收割”逻辑:让友商先在前面踩雷、试错,等市场教育得差不多了,它再拿出一个解决了核心痛点的“完美方案”进场摘桃子。
它要卖的不是一台“能折叠的手机”,而是一台“摔不坏且无折痕的手机”。
不过,想要实现这个“完美”,代价可能比我们想象的要大。
为了追求极致的轻薄,郭明錤等分析师预测,苹果可能会干一件极其“违背祖宗”的事——砍掉Face ID。
3.png
图片来源:美国专利商标
目前的工程机数据显示,展开后的厚度可能只有4.5毫米左右,比现在的iPhone薄了一半。
在这种极限厚度下,物理定律是公平的,那一堆复杂的3D结构光组件根本塞不进去。
所以,在2027年的顶级旗舰上,我们很有可能要一夜回到解放前,去使用集成在侧边按钮上的Touch ID指纹解锁。
这是一个巨大的倒退还是必要的牺牲?恐怕只有库克自己知道。
再看看价格,预计2000美元起步,换算成人民币妥妥奔着一万五去了。
4.png

这个定价策略很明显,它不是用来替代iPhone 18或19的,而是凌驾于Pro Max之上的“Ultra”产品线。
它注定不是走量的街机,而是苹果用来秀肌肉、拉高品牌溢价的图腾。
5.png
图片来源:CNET
这盘棋下得确实险,毕竟到了2027年,隔壁安卓阵营的折叠屏估计都进化到“卷轴屏”甚至更夸张的形态了。
苹果凭着“无折痕”和“防摔”这两张牌,能否弥补这三四年的时间差,还要打个大大的问号。
那么最后想问问大家,如果2027年iPhone折叠屏真的卖一万五,但没有Face ID,只有指纹解锁,作为老果粉的你,会为这个信仰充值吗?
欢迎在评论区留下你的看法,咱们一起聊聊。

内容来源于联合早报中文网网友投稿

使用道具 举报

您需要登录后才可以回帖 立即登录